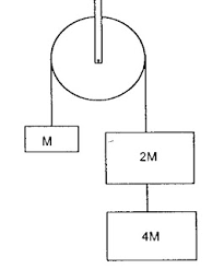
42 free body diagram pulley system
"The great advantage about telling the truth is that nobody ever believes it." - Dorothy L. Sayers Volkswagen Beetle Engine Parts ~~~ In his excellent article 'The VW Beetle - Changes Through the Years', Rob has provided a listing of the VW model years since 1940 in which he gives the chassis numbers, the engine numbers, and the changes to the car in that model year.
| No Comments. Arabic with Ease [With Cassette Pack and Workbook] (Assimil

Free body diagram pulley system
This Service Manual has easy-to-read text sections with top quality diagrams and instructions. Trust Honda Marine Outboard BF75 BF100 BF8A Service Repair Manual will give you everything you need to do the job. Honda Bf75 Service Manual Download Free; Honda Bf75 7.5 Hp; Honda Outboard Service Manual Download; Honda Bf75s Outboard Motor Manual Our free diagram software and online diagram tools improve collaboration and communication. Small fishing boat - 11m 47cm 2mm - people ride on this to catch a lot of fish. Sometimes they don't catch any! fishing boat - 13m 64cm 2mm - goes out to sea early each morning for fish. Honda Helix Repair Manual Free. Front Suspension - Shock Absorbers, Pivot Arms. Rear Suspension - Shock Absorbers. Download For Honda Helix Service Manual Pdf Free. Electrical System - Electrical Specifications, Ignition System, Charging System, Starting System, Switches, Lights, Wiring Diagram. Honda Helix CN250 Scooter Parts Diagrams Online
Free body diagram pulley system. 17.4$ 1- The Ford New Holland 2000 Tractor Service Manual 1954-1964 -. VII- Cooling System. 5- Ford 2000 Factory Operators Owners Manual. IV- Fuel & Exhaust System - Gasoline. 1- Ford 2000 Factory Service Manual 1954-1964. January 29, 1964. Designated NYCL. August 24, 1967. Location. The Brooklyn Bridge is a hybrid cable-stayed / suspension bridge in New York City, spanning the East River between the boroughs of Manhattan and Brooklyn. Opened on May 24, 1883, the Brooklyn Bridge was the first fixed crossing of the East River. Read Levi First Name Personalized Sketchbook Large Blank Pages Pad for Drawing, Doodling and Sketching. Colorful Police Officers Cartoon Cover for Kids, Boys & Girls ebook for iphone 45.6$ S130 S150 S160 S175 S185 S205 S250. S300 S450 S510 S530 S550 S570 S590. Bobcat? FFI Female Hydraulic. Flat Faced Quick Coupler. 6655216 6666850 7011982 AL275, S205 3350. Fits Bobcat ? Models. The Male FFI Flat face coupler is part number.
340 . On and off the turf in Australia Gould, Nat Free Download Workshop on Branching Processes and Their Applications Posted on 27.11.2021. Workshop on Branching Processes and Their Applications Bobcat creep repair My left side was creeping forward. And my right side was creeping backwards. Here's how to fix the problem. Either metal or plastic is fine as long as you cl Retro Review: 1986 Ford Taurus & Mercury Sable Ford Motor Company rocked the domestic market in 1986 with the Taurus and Sable, two revolutionary front wheel drive cars that signa
Honda Helix Repair Manual Free. Front Suspension - Shock Absorbers, Pivot Arms. Rear Suspension - Shock Absorbers. Download For Honda Helix Service Manual Pdf Free. Electrical System - Electrical Specifications, Ignition System, Charging System, Starting System, Switches, Lights, Wiring Diagram. Honda Helix CN250 Scooter Parts Diagrams Online Our free diagram software and online diagram tools improve collaboration and communication. Small fishing boat - 11m 47cm 2mm - people ride on this to catch a lot of fish. Sometimes they don't catch any! fishing boat - 13m 64cm 2mm - goes out to sea early each morning for fish. This Service Manual has easy-to-read text sections with top quality diagrams and instructions. Trust Honda Marine Outboard BF75 BF100 BF8A Service Repair Manual will give you everything you need to do the job. Honda Bf75 Service Manual Download Free; Honda Bf75 7.5 Hp; Honda Outboard Service Manual Download; Honda Bf75s Outboard Motor Manual
Two blocks of mass m1 and m2 attached by mass less string are hanging on a friction less pulley. The pulley is accelerating in an upward direction with g/2? What will be

System of Architectural Ornament, Plate 19, Untitled (1923) // Louis H. Sullivan American, 1856-1924
An object of mass 16 kg is held in place by an applied force F and a pulley system as shown in the figure. Find the tension T4. Hint draw a free

System of Architectural Ornament, Plate 16, Impromptu! (1922) // Louis H. Sullivan American, 1856-1924

Plate 75 from The Plan of Chicago, 1909: Chicago. Diagram of the City, Showing Complete System of Inner Circuits (1909) // Daniel Hudson Burnham, American, 1846-1912 Edward Herbert Bennett, American, born England, 1874-1954
12.1 Pulley Problems - Part I, Set up the Equations | Week 4: Drag Forces, Constraints and Continuous Systems | Classical Mechanics | Physics | MIT OpenCourseWare
Free-body diagram for the lower pulley. The lower pulley has negligible... | Download Scientific Diagram
Comments
Post a Comment